Juntas Universais (Cruzeta para basculantes) | Compocardan

Juntas Universais(Cruzeta para basculantes)

Juntas Universais e Eixos cardans para Basculantes, Coletores de lixo, Munck, Guinchos e similares.

Identificados através de medidas, e no desenvolvimento conforme sua necessidade.


       
Juntas Universais Terminais e Flanges Acessórios Cardans
Juntas Universais Terminais e Flanges Acessórios Cardans
 
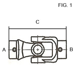
Saiba como identificar as Juntas Universais(Cruzetas para basculantes)
Determine as
medidas
A e B
para cruzetas
Cruzeta 00 Cruzeta 01 Cruzeta 02 Cruzeta 03
Diametro redondo lado A ou lado B
Perfil Quadrado Lado A ou Lado B
Tubos e Barras Quadrada